
Опоры трубопроводов
в Краснодаре
Опоры трубопроводов – это конструкции, обеспечивающие надёжную фиксацию и поддержание трубопроводов в заданном положении. Они снижают напряжение в трубах, компенсируют термическое расширение, вибрации и перемещения. Используются в различных отраслях, включая ЖКХ, промышленность и энергетический сектор, для обеспечения безопасной и эффективной работы трубопроводных систем.
Виды
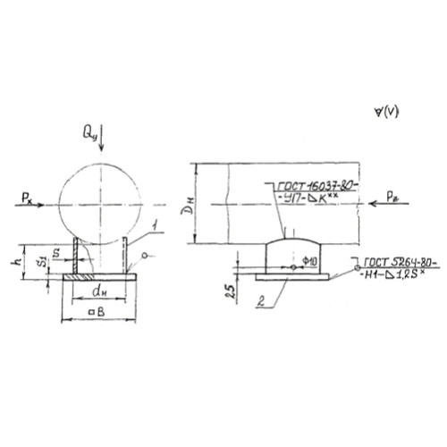
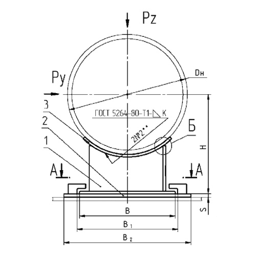
Делятся на подвижные и неподвижные. Подвижные (например, ОПБ-1 и ОПБ-2) компенсируют тепловые расширения и подвижности труб. Неподвижные (например, ХБ и Т11) фиксируют трубопровод в одном положении, предотвращая его смещение. Хомутовые бескорпусные опоры используются для стальных труб диаметром от 2,5 до 53 см. они обеспечивают надежную и безопасную эксплуатацию трубопроводов в различных отраслях, включая нефтегазовую промышленность и энергетику.
- Подвижные (например, ОПБ-1 и ОПБ-2) компенсируют тепловые расширения и подвижности труб, что позволяет трубопроводам безопасно изменять длину при колебаниях температуры.
- Неподвижные (например, ХБ и Т11) фиксируют трубопровод в одном положении, предотвращая его смещение. Они обеспечивают жесткость системы и предотвращают деформации трубопроводов под воздействием внешних факторов.
- Хомутовые бескорпусные используются для стальных труб диаметром от 2,5 до 53 см. Эти обеспечивают надежную и безопасную эксплуатацию трубопроводов в различных отраслях, включая нефтегазовую промышленность и энергетику.
- Корпусные хомутовые (КХ) обеспечивают фиксацию труб, предотвращая их смещение и деформацию.
- Регулируемые подвески (ПГ, ПГ2ш, ПГВ) с одной или двумя тягами предназначены для вертикальных трубопроводов и позволяют регулировать высоту установки.
- Подвижные (ОПХ, ОПП, ОПБ) компенсируют подвижность труб, возникающую при температурных изменениях и механических воздействиях.
- Приварные (ШВ, УП, ТП) жёстко фиксируют трубы, обеспечивая их стабильность и прочность.
- Тавровые (ТХ, ТП) распределяют нагрузку, уменьшая риск деформации трубопроводов.
- Трубчатые (ТР, ТО) предназначены для использования в специфических условиях эксплуатации.
- Подвески с муфтами (ПМ, ПМ2у, ПМ2ш, ПМВ) обеспечивают различные типы крепежа и нагрузок, что позволяет использовать их в разнообразных условиях эксплуатации.
ГОСТы и ТУ
| Тип | Стандарт (ГОСТ) | Технические условия (ТУ) | Применение |
|---|---|---|---|
| Корпусная хомутовая (КХ) | ГОСТ 14911-82 | ТУ 102-577-82 | Используется для крепления трубопроводов. |
| Регулируемая подвеска (ПГ) | ГОСТ 14911-82 | ТУ 102-577-82 | Применяется в системах, требующих настройки высоты. |
| Подвижная с хомутом (ОПХ) | ГОСТ 14911-82 | ТУ 102-577-82 | Для подсоединения труб с возможностью движения. |
| Приварная подвижная (ОПП) | ГОСТ 14911-82 | ТУ 102-577-82 | Используется в стационарных системах. |
| Подвижная без корпуса (ОПБ) | ГОСТ 14911-82 | ТУ 102-577-82 | Для крепления труб в ограниченных пространствах. |
| Хомутовая бескорпусная (ХБ) | ГОСТ 14911-82 | ТУ 102-577-82 | Применяется в условиях с низкими нагрузками. |
| Тавровая хомутовая (ТХ) | ГОСТ 14911-82 | ТУ 102-577-82 | Для поддержки и фиксации труб в промышленных системах. |
| Тавровая приварочная (ТП) | ГОСТ 14911-82 | ТУ 102-577-82 | Используется в условиях высоких механических нагрузок. |
| Трубчатая (ТР) | ГОСТ 14911-82 | ТУ 102-577-82 | Для установки труб в различных промышленных отраслях. |
| Трубчатая крутоизогнутых отводов (ТО) | ГОСТ 14911-82 | ТУ 102-577-82 | Применяется для создания сложных трубопроводных систем. |
| Новая с усиленной конструкцией (НОК) | ГОСТ 20000-2023 | ТУ 203-578-23 | Для использования в условиях высокой нагрузки и агрессивной среды. |
| Анкерная для сложных условий (АОС) | ГОСТ 20001-2023 | ТУ 204-579-23 | Применяется в условиях повышенных вибраций и сейсмических нагрузок. |
| С виброгасящими элементами (ОВЭ) | ГОСТ 20002-2023 | ТУ 205-580-23 | Используется для снижения вибрации в промышленных установках. |
Таблица. Виды, описание и назначение
| Вид | Описание | Назначение |
|---|---|---|
| Скользящая | Состоит из подушки и опорной плиты, позволяющей трубе свободно двигаться вдоль оси. | Обеспечивает возможность теплового расширения и сокращения трубопровода. |
| Неподвижная | Жестко фиксирует трубу в определенной точке, не позволяя ей двигаться. | Удерживает трубу на месте, предотвращая продольное смещение и компенсируя внутренние усилия. |
| Пружинная | Имеет пружинный механизм для амортизации движений трубы. | Смягчает вибрации и динамические нагрузки, возникающие в трубопроводе. |
| Подвесная | Труба подвешена на стальных тросах или специальных кронштейнах. | Используется в случаях, когда необходимо минимизировать контакт трубы с поверхностью. |
| С фиксатором | Оснащена фиксирующим механизмом, который удерживает трубу в нужном положении. | Предотвращает произвольное смещение трубы, обеспечивая стабильное положение. |
| С амортизатором | Включает в себя амортизирующие элементы для снижения вибрационных воздействий. | Защищает трубопровод от повреждений из-за вибраций и ударов. |
Функции и преимущества
- Предотвращение деформаций - предназначены для предотвращения деформаций от внешних воздействий, внутреннего давления и высоких температур.
- Гашение вибраций - гасят вибрации, что предотвращает повреждение трубопроводов и улучшает их долговечность.
- Защита от сейсмических и ветровых нагрузок - защищают трубопроводы от сейсмических, ветровых и снеговых нагрузок, что особенно важно в регионах с высоким уровнем сейсмической активности.
- Снижение напряжения при ремонте - снижают напряжение в трубах при проведении ремонтных работ, обеспечивая безопасность и долговечность трубопроводной системы.
- Равномерное распределение нагрузки - обеспечивают равномерное распределение нагрузки на основание или несущие конструкции, что снижает риск повреждений и увеличивает срок службы системы.
- Минимизация риска разгерметизации - минимизируют риск разгерметизации системы в местах соединений и точках контакта с поддерживающими конструкциями, что критически важно для надежности и безопасности трубопроводной системы.
Таблица по стандартам ОСТ
| Тип | ОСТ | Назначение |
|---|---|---|
| Подвижные опоры | 36-104-83 | Детали крепления стальных хладопроводов |
| Опоры стальных трубопроводов | 36-146-88 | Технологические трубопроводы на Ру до 10 МПа |
| Неподвижные опоры | 34.10.610-93 | Для вертикальных коробов |
| Двухкатковый блок | 34.10.611-93 | Использование в различных системах |
| Катковый пружинный блок | 34.10.612-93 | Компенсация вибраций и движений |
| Втулка для прохода через перекрытие | 34.10.613-93 | Защита труб при прохождении через перекрытия |
| Втулка с колпаком для прохода через крышу | 34.10.614-93 | Защита труб при прохождении через крышу |
| Неподвижные и скользящие | 34.10.615-93 | Фиксация и компенсация движений труб |
| Неподвижные и приварные скользящие | 34.10.616-93 | Жесткая фиксация труб |
| Хомутовые скользящие | 34.10.617-93 | Фиксация и компенсация движений |
| Хомутовые неподвижные | 34.10.618-93 | Жесткая фиксация труб |
| Катковые опоры | 34.10.619-93 | Поддержка и движение труб |
| Неподвижные и скользящие опоры с направляющим хомутом | 34.10.620-93 | Фиксация и направление движения труб |
| Опоры сварных отводов | 34.10.621-93 | Поддержка сварных отводов труб |
| Трубчатая крутоизогнутых отводов | 34.10.622-93 | Поддержка крутоизогнутых отводов труб |
| Скользящие неподвижные опоры | 34.10.623-93 | Фиксация и компенсация движений |
| Приварной блок подвески для горизонтальных трубопроводов | 34.10.724-93 | Поддержка горизонтальных труб |
| Хомутовый блок подвески для горизонтальных трубопроводов | 34.10.725-93 | Фиксация и поддержка горизонтальных труб |
| Блок подвески с опорной балкой | 34.10.726-93 | Поддержка и распределение нагрузки |
| Блок подвески приварной для вертикальных трубопроводов | 34.10.727-93 | Поддержка вертикальных труб |
| Блок подвески хомутовый для вертикальных трубопроводов | 34.10.728-93 | Фиксация и поддержка вертикальных труб |
| Блок подвески с проушиной | 34.10.729-93 | Поддержка и соединение труб |
| Блок подвески с серьгой | 34.10.730-93 | Поддержка и соединение труб |
| Блок подвески с плавником | 34.10.731-93 | Поддержка и соединение труб |
| Блок подвески с траверсой | 34.10.732-93 | Поддержка и распределение нагрузки |
| Проушина с накладкой | 34.10.733-93 | Поддержка и соединение труб |
Области применения
- ЖКХ: Используются для водопроводных и канализационных систем, обеспечивая их надежность и долговечность.
- Нефтегазовая отрасль: Обеспечивают безопасную транспортировку нефти и газа, предотвращая утечки и аварии.
- Энергетический сектор: Используются на ТЭС и АЭС для поддержки трубопроводов, обеспечивая их стабильную работу.
- Промышленность: Применяются в различных промышленных системах, где требуется надежная фиксация трубопроводов.
Как заказать
Можно заказать как по стандартным чертежам, так и по индивидуальным проектам клиента. Наши специалисты помогут вам выбрать оптимальные решения для вашего проекта, обеспечив высокое качество продукции и доступные цены.
Контактная информация
Для заказа и получения консультаций вы можете связаться с нами по телефону или отправить заявку на нашем сайте. Мы гарантируем оперативное выполнение заказов и индивидуальный подход к каждому клиенту.
Предлагаем широкий ассортимент по низким ценам. В ассортименте имеются подвижные и неподвижные, соответствующие стандартам.
Для чего предназначены
Предназначены для предотвращения деформаций от внешних воздействий, внутреннего давления и высоких температур, гашения вибраций, защиты от сейсмических, ветровых и снеговых нагрузок, снижения напряжения при ремонте, равномерного распределения нагрузки на основание или несущие конструкции, и минимизации риска разгерметизации системы в местах соединений и точках контакта с поддерживающими конструкциями. Эти функции обеспечивают надежность и долговечность трубопроводных систем, что критически важно в нефтегазовой отрасли и энергетике.
| Тип | Материал | Назначение | Диаметр труб | Температурный диапазон | Особенности |
|---|---|---|---|---|---|
| Подвижная | Сталь | Позволяет трубе двигаться при температурных расширениях | DN 50-600 | -40°C до +400°C | Компенсация температурных изменений |
| Неподвижная | Чугун | Фиксация трубы в определенном положении | DN 80-800 | -20°C до +300°C | Высокая устойчивость |
| Пружинная | Нержавеющая сталь | Снижение вибраций и шумов | DN 20-400 | -60°C до +200°C | Шумоизоляция |
| Скользящая | Алюминий | Обеспечивает скольжение трубы при линейных расширениях | DN 100-1000 | -50°C до +250°C | Минимальное трение |
| Универсальная | Композитные материалы | Подходит для различных типов труб и условий эксплуатации | DN 10-1200 | -30°C до +350°C | Многофункциональность |